
型号 | 公称压力 | 试验压力 | 工作温度℃ | 适用介质 | |
强度(水)MPa | 密封(水)MPa | ||||
H42X-2.5 | 0.25 | 0.4 | 0.25 | ≤50 | 水 |
零件名称 | 材料 |
阀体、阀盖、阀瓣 | 灰铸铁 |
密封圈 | 橡胶 |
垫片 | 石棉板 |

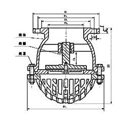
型号 | 公称通径DN(mm) | 尺寸(mm) | 重量(kg) | |||||||
D | D1 | D2 | b-f | Z-Φd | D0 | h0 | H | |||
H42X-2.5 | 50 | 140 | 110 | 90 | 16-3 | 4-14 | 135 | 17 | 142 | 4 |
65 | 160 | 130 | 110 | 16-3 | 4-14 | 168 | 25 | 180 | 6.5 | |
80 | 185 | 150 | 125 | 18-3 | 4-18 | 198 | 32 | 197 | 8.5 | |
100 | 205 | 170 | 145 | 18-3 | 4-18 | 247 | 40 | 230 | 143.5 | |
125 | 235 | 2500 | 175 | 20-3 | 8-18 | 272 | 43 | 270 | 18 | |
150 | 260 | 225 | 200 | 20-3 | 8-18 | 315 | 38 | 297 | 24 | |
200 | 315 | 280 | 255 | 22-3 | 8-18 | 405 | 65 | 382 | 38 | |
250 | 370 | 335 | 310 | 24-3 | 12-18 | 465 | 84 | 460 | 64 | |
300 | 435 | 395 | 262 | 24-4 | 12-23 | 510 | 90 | 530 | 98 | |
![]()