
零件名称 | 材料 | 温度范围 |
阀体上阀盖 | HT200 | -20~200℃ |
ZG230-450 | -40~450℃ | |
ZG1Cr18Ni9Ti | -250~550℃ | |
ZG0Cr18Ni12Mo2Ti | -250~550℃ | |
阀芯、阀座 | 1Cr18Ni9 | -250~550℃ |
0Cr18Ni12Mo2Ti | -250~550℃ | |
填 料 | 聚四氟乙烯 | -40~200℃ |
膜 片 | 丁晴橡胶夹增强涤沦织物 | |
压缩弹簧 | 60Si2Mn | |
膜 盖 | A3 |
公称通径mm | 20 | 25 | 40 | 50 | 65 | 80 | 100 | 150 | 200 | 250 | 300 | 350 | 400-500 | |||||||
阀座直径mm | 10 | 12 | 15 | 20 | 25 | 32 | 40 | 50 | 65 | 80 | 100 | 125 | 150 | 200 | 250 | 300 | 可与兰博公司 商洽生产 | |||
额定流量 系数Kv | 直线 | 1.8 | 2.8 | 4.4 | 6.9 | 11 | 17.6 | 27.5 | 44 | 69 | 110 | 176 | 275 | 440 | 690 | 1000 | 1600 | |||
等百分比 | 1.6 | 2.5 | 4 | 6.3 | 10 | 16 | 25 | 40 | 63 | 100 | 160 | 250 | 400 | 630 | 900 | 1440 | ||||
公称压力MPa | 0.6 1.6 4.0 6.4 | |||||||||||||||||||
行程mm | 10 | 16 | 25 | 40 | 60 | 100 | ||||||||||||||
流量特性 | 直线、等百分比、快开型 | |||||||||||||||||||
介质温度℃ | -40~230℃(常温型),散热片式230~450℃(中温型),特殊订货-100~600℃ | |||||||||||||||||||
法兰标准 | 符合JB78-59、JB79-59标准,可按JB/79.1-94、JB/79.2-94、ANSI、JIS、DIN 等标准订货生产 | |||||||||||||||||||
阀体材质 | PN (MPa) | 0.6,1.6 | WCB(ZG230-450) CF3CF8 CF8M | |||||||||||||||||
4.0,6.4 | WCB(ZG230-450)、ZG1Cr18Ni9Ti、ZG0Cr18Ni12Mo2Ti CF8 CF8M | |||||||||||||||||||
阀体型式 | 直通单座铸造球型阀 | |||||||||||||||||||
阀芯材质 | 1Cr18Ni9、0Cr18Ni12Mo2Ti CF8 CF8M | |||||||||||||||||||
上阀盖形式 | 普通式(常温型)、热片式(中温型)、低温型 | |||||||||||||||||||
可调比R | 50:1 | |||||||||||||||||||
气源接头 | M16×1.5 | |||||||||||||||||||
型号 | ZHA-22 ZHB-22 | ZHA-23 ZHB-23 | ZHB-34 ZHB-34 | ZHA-45 ZHB-45 | ZHA-56 ZHB-56 |
有效面积cm2 | 350 | 350 | 560 | 900 | 1600 |
行程mm | 16 | 25 | 40 | 60 | 100 |
弹簧范围KPa | 20~100(标准):40~200; 80~240; 20~60; 60~100 | ||||
项目 | 指标值 | 项目 | 指标值 | ||||
基本误差% | 不带定位器 | ±5.0 | 始 终 点 偏 差 % | 气关 | 不带定位器 | 始点 | ±5.0 |
带定位器 | ±1.0 | 终点 | ±2.5 | ||||
回差% | 不带定位器 | ≤3.0 | 带定位器 | 始点 | ±1.0 | ||
终点 | ±1.0 | ||||||
带定位器 | ≤1.0 | 气开 | 不带定位器 | 始点 | ±2.5 | ||
终点 | ±5.0 | ||||||
死区% | 不带定位器 | ≤3.0 | 带定位器 | 始点 | ±1.0 | ||
终点 | ±1.0 | ||||||
带定位器 | ≤0.4 | 允许泄漏量L/h | 1×10-4×阀额定容量 | ||||
额定行程偏差% | ±2.5 | ||||||
开关方式 | 执行机构型号 | 弹簧范围KPa | 气源压力KPa | 需要附件 | 公称通径(阀座直径)mm | |||||||||||||||
25 | 25 | 40 | 50 | 65 | 80 | 100 | 150 | 200 | 250 | 300 | ||||||||||
(10) | (12) | (15) | (20) | (32) | (40) | (125) | (150) | |||||||||||||
气 关 | ZHA -22 | 20~100 20~100 40~200 | 140 250 140 | P P P或R | 6.4 6.4 6.4 | 5.94 6.4 6.4 | 3.34 6.4 6.4 | 3.34 6.4 6.4 | 2.14 6.4 6.4 | |||||||||||
ZHA -23 | 20~100 20~100 40~200 | 140 250 400 | P P P或R | 1.31 6.09 6.4 | 0.84 3.9 5.26 | 0.53 2.5 3.39 | ||||||||||||||
ZHA -34 | 20~100 20~100 40~200 | 140 250 400 | P P P或R | 0.51 2.36 3.21 | 0.33 1.56 2.12 | 0.21 1.0 1.35 | ||||||||||||||
ZHA -45 | 20~100 20~100 40~200 | 140 250 400 | P P P或R | 0.22 1.02 1.39 | 0.15 0.71 0.97 | 0.08 0.40 0.54 | ||||||||||||||
ZHA -56 | 20~100 20~100 40~200 | 140 250 400 | P P P或R | 0.06 0.37 0.51 | 0.04 0.25 0.36 | |||||||||||||||
气 开 | ZHB -22 | 20~100 40~200 80~240 | 140 250 400 | P P或R P | 4.46 6.4 6.4 | 3.09 6.4 6.4 | 1.98 5.94 6.4 | 1.11 3.34 6.4 | 0.71 2.14 4.99 | |||||||||||
ZHB -23 | 20~100 40~200 80~240 | 140 250 400 | P P或R P | 0.44 1.37 3.05 | 0.28 0.84 1.95 | 0.18 0.53 1.25 | ||||||||||||||
ZHB -34 | 20~100 40~200 80~240 | 140 250 400 | P P或R P | 0.17 0.51 1.18 | 0.11 0.33 0.78 | 0.07 0.21 0.5 | ||||||||||||||
ZHB -45 | 20~100 40~200 80~240 | 140 250 400 | P P或R P | 0.07 0.22 0.51 | 0.05 0.15 0.35 | 0.028 0.08 0.20 | ||||||||||||||
ZHA -56 | 20~100 20~100 40~200 | 140 250 400 | P P P或R | 0.03 0.09 0.20 | 0.02 0.06 0.14 | |||||||||||||||

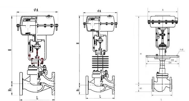
DN | L | H | H1 | 质量(kg) | φA | |||||||
PN16 | PN40 | PN64 | 普通 | 高温 | PN6 | PN16 | PN40 | PN64 | PN6 PN16 | PN40 PN64 | ||
20 | 181 | 194 | 206 | 398 | 548 | 45 | 52 | 65 | 19 | 23 | 285 | |
25 | 185 | 197 | 210 | 410 | 560 | 50 | 57 | 70 | 20 | 24 | ||
40 | 222 | 235 | 251 | 455 | 620 | 65 | 75 | 85 | 26 | 35 | ||
50 | 254 | 267 | 286 | 457 | 627 | 70 | 82 | 90 | 30 | 40 | ||
65 | 276 | 292 | 311 | 610 | 790 | 80 | 92 | 100 | 47 | 66 | 360 | |
80 | 298 | 317 | 337 | 622 | 807 | 95 | 100 | 107 | 55 | 78 | ||
100 | 352 | 368 | 394 | 640 | 850 | 105 | 110 | 117 | 125 | 65 | 99 | |
150 | 451 | 473 | 508 | 870 | 1130 | 132 | 142 | 150 | 172 | 130 | 160 | 470 |
200 | 600 | 650 | 890 | 1150 | 160 | 170 | 187 | 207 | 175 | 250 | ||
250 | 730 | 775 | 1203 | 1523 | 187 | 202 | 225 | 235 | 350 | 470 | 580 | |
300 | 850 | 900 | 1234 | 1554 | 220 | 230 | 257 | 265 | 500 | 660 | ||
![]()