
工作介质 | 空气等非腐蚀性气体 | |||||
介质温度 ℃ | ≤60 | |||||
工作压力 MPa | 1.0 | |||||
工作压差 MPa | -0.1~0 | |||||
电源电压 | AC220V DC24V 其余规格可作特殊订货 | |||||
使用寿命 | JB/T7352-94规定 | |||||
额定流量系数 KV | 3.8 | 7.4 | 10.3 | 18.8 | 25.7 | 41 |
泄漏量 ml/min | 按JB/T7352-94.F规定 | |||||
公称通径 mm | 15 | 20 | 25 | 32 | 40 | 50 |
功 耗(VA) | 50 | 90 | ||||

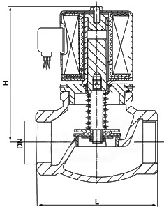
公称通径DN | 内螺纹连接 | 法兰连接 | |||||||||
内螺纹 | 外形尺寸 | 外形尺寸 | 法兰尺寸 | ||||||||
G | H | L | H | L | D | D1 | D2 | n-d | b | f | |
15 | 1/2″ | 148 | 92 | 176 | 130 | 95 | 65 | 46 | 4-φ14 | 14 | 2 |
20 | 3/4″ | 148 | 92 | 181 | 150 | 105 | 75 | 56 | 4-φ14 | 16 | 2 |
25 | 1″ | 148 | 110 | 210 | 160 | 115 | 85 | 65 | 4-φ14 | 16 | 3 |
32 | 11/4″ | 182 | 120 | 221 | 180 | 140 | 100 | 76 | 4-φ18 | 18 | 3 |
40 | 11/2″ | 182 | 140 | 230 | 200 | 150 | 110 | 84 | 4-φ18 | 18 | 3 |
50 | 2″ | 192 | 162 | 252 | 230 | 165 | 125 | 99 | 4-φ18 | 20 | 3 |
![]()